Wear-resistant Ceramic Slag valve
1.0MPa 1.6MPa 2.5MPa


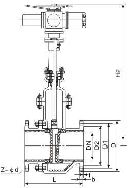
耐磨陶瓷排渣阀 Wear-resistant Ceramic Slag valve



| 型号 Type | 公称通径 DN | 尺寸Size | WT(kg) | |||||||||||||
| L | D | D1 | D2 | D6 | b | f | f2 | Z-Φd | H | H1 | H2 | D0 | Manual | Electric | ||
| 1.0MPa | 50 | 250 | 160 | 125 | 100 | 18 | 3 | 4-Φ18 | 335 | 385 | 640 | 200 | 34 | 88 | ||
| 65 | 265 | 180 | 145 | 120 | 20 | 3 | 4-Φ18 | 360 | 435 | 670 | 220 | 38 | 92 | |||
| 80 | 280 | 195 | 160 | 135 | 20 | 3 | 4-Φ18 | 415 | 495 | 720 | 240 | 46 | 100 | |||
| 100 | 300 | 215 | 180 | 155 | 22 | 3 | 8-Φ18 | 490 | 590 | 790 | 260 | 70 | 114 | |||
| 125 | 325 | 245 | 210 | 185 | 24 | 3 | 8-Φ18 | 552 | 677 | 852 | 280 | 100 | 164 | |||
| 150 | 350 | 280 | 240 | 210 | 24 | 3 | 8-Φ23 | 600 | 755 | 900 | 300 | 125 | 179 | |||
| 200 | 400 | 335 | 295 | 265 | 24 | 4 | 8-Φ23 | 780 | 980 | 1070 | 350 | 207 | 267 | |||
| 250 | 450 | 390 | 350 | 320 | 26 | 4 | 12-Φ23 | 860 | 1110 | 1150 | 400 | 279 | 339 | |||
| 300 | 500 | 440 | 400 | 368 | 28 | 4 | 12-Φ23 | 1010 | 1310 | 1300 | 450 | 392 | 492 | |||
| 350 | 550 | 500 | 460 | 428 | 28 | 4 | 16-Φ23 | 1160 | 1510 | 1450 | 500 | 537 | 665 | |||
| 400 | 600 | 565 | 515 | 482 | 30 | 4 | 16-Φ25 | 1400 | 1800 | 1775 | 550 | 680 | 812 | |||
| 450 | 650 | 615 | 565 | 532 | 30 | 4 | 20-Φ25 | 1500 | 1950 | 1875 | 600 | 850 | 982 | |||
| 500 | 700 | 670 | 620 | 585 | 32 | 4 | 20-Φ25 | 1600 | 2100 | 1968 | 700 | 1100 | 1345 | |||
| 600 | 800 | 780 | 725 | 685 | 36 | 5 | 20-Φ30 | 1910 | 2510 | 2295 | 700 | 1700 | 2180 | |||
| 1.6MPa | 50 | 250 | 160 | 125 | 100 | 16 | 3 | 4-Φ18 | 350 | 400 | 640 | 220 | 34 | 88 | ||
| 65 | 265 | 180 | 145 | 120 | 18 | 3 | 4-Φ18 | 375 | 450 | 670 | 240 | 38 | 92 | |||
| 80 | 280 | 195 | 160 | 135 | 20 | 3 | 8-Φ18 | 433 | 528 | 720 | 280 | 46 | 100 | |||
| 100 | 300 | 215 | 180 | 155 | 20 | 3 | 8-Φ18 | 502 | 620 | 800 | 320 | 70 | 114 | |||
| 125 | 325 | 245 | 210 | 185 | 22 | 3 | 8-Φ18 | 612 | 753 | 905 | 360 | 100 | 164 | |||
| 150 | 350 | 280 | 240 | 210 | 24 | 3 | 8-Φ23 | 676 | 847 | 966 | 360 | 125 | 179 | |||
| 200 | 400 | 335 | 295 | 265 | 26 | 3 | 12-Φ23 | 820 | 1039 | 1100 | 400 | 207 | 267 | |||
| 250 | 450 | 405 | 355 | 320 | 30 | 3 | 12-Φ25 | 969 | 1245 | 1220 | 450 | 279 | 339 | |||
| 300 | 500 | 460 | 410 | 375 | 30 | 4 | 12-Φ25 | 1142 | 1472 | 1527 | 500 | 392 | 492 | |||
| 350 | 550 | 520 | 470 | 435 | 34 | 4 | 16-Φ25 | 1280 | 1450 | 1665 | 550 | 537 | 665 | |||
| 400 | 600 | 580 | 525 | 485 | 36 | 4 | 16-Φ30 | 1452 | 1887 | 1870 | 600 | 680 | 812 | |||
| 450 | 650 | 640 | 585 | 545 | 40 | 4 | 20-Φ30 | 1541 | 2011 | 1946 | 700 | 850 | 982 | |||
| 500 | 700 | 705 | 650 | 608 | 44 | 4 | 20-Φ34 | 1676 | 2181 | 2190 | 700 | 1100 | 1345 | |||
| 600 | 800 | 840 | 770 | 718 | 48 | 5 | 20-Φ41 | 2000 | 2600 | 2510 | 800 | 1700 | 2180 | |||
| 2.5MPa | 50 | 250 | 160 | 125 | 100 | 20 | 3 | 4-Φ18 | 350 | 400 | 640 | 220 | 34 | 88 | ||
| 65 | 265 | 180 | 145 | 120 | 22 | 3 | 8-Φ18 | 375 | 450 | 670 | 240 | 38 | 92 | |||
| 80 | 280 | 195 | 160 | 135 | 22 | 3 | 8-Φ18 | 433 | 528 | 720 | 280 | 46 | 100 | |||
| 100 | 300 | 230 | 190 | 160 | 24 | 3 | 8-Φ23 | 502 | 620 | 800 | 320 | 73 | 117 | |||
| 125 | 325 | 270 | 220 | 188 | 28 | 3 | 8-Φ25 | 612 | 753 | 905 | 360 | 105 | 169 | |||
| 150 | 350 | 300 | 250 | 218 | 30 | 3 | 8-Φ25 | 676 | 847 | 966 | 360 | 131 | 185 | |||
| 200 | 400 | 360 | 310 | 278 | 34 | 3 | 12-Φ25 | 820 | 1039 | 1100 | 400 | 215 | 280 | |||
| 250 | 450 | 425 | 370 | 332 | 36 | 3 | 12-Φ30 | 969 | 1245 | 1220 | 450 | 295 | 350 | |||
| 300 | 500 | 485 | 430 | 390 | 40 | 4 | 16-Φ30 | 1142 | 1472 | 1527 | 500 | 410 | 515 | |||
| 350 | 550 | 550 | 490 | 448 | 44 | 4 | 16-Φ34 | 1280 | 1450 | 1665 | 550 | 560 | 685 | |||
| 400 | 600 | 610 | 550 | 505 | 48 | 4 | 16-Φ34 | 1452 | 1887 | 1870 | 600 | 710 | 842 | |||
| 450 | 650 | 660 | 600 | 555 | 50 | 4 | 20-Φ34 | 1541 | 2011 | 1946 | 700 | 900 | 1052 | |||
| 500 | 700 | 730 | 660 | 610 | 52 | 4 | 20-Φ41 | 1676 | 2181 | 2190 | 700 | 1200 | 1445 | |||
| 600 | 800 | 840 | 770 | 718 | 56 | 5 | 20-Φ41 | 2000 | 2600 | 2510 | 800 | 1700 | 2180 | |||