ANSI Gate Valve
Z40H-150Lb (Body:WCB) Z40H-150Lbp (Body:CF8) Z40H-150Lb (Body:CF8) Z40H-150LbR (Body:CF8M) Z40H-150LbPL (Body:CF3) Z40H-150LbRL (Body:CF3M)


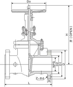
磅级闸阀 ANSI Gate Valve




| 产品型号 Type | NPS | DN | Class 150Lb | WT | |||||||
| in | mm | L | D | D1 | D2 | b | Z-Φd | H | Do | (Kg) | |
| Z40H-150Lb (Body:WCB) Z40H-150Lbp (Body:CF8) Z40H-150Lb (Body:CF8) Z40H-150LbR (Body:CF8M) Z40H-150LbPL (Body:CF3) Z40H-150LbRL (Body:CF3M) |
2" | 50 | 178 | 152 | 120.5 | 92 | 16 | 4-Φ19 | 323 | 200 | 18 |
| 21/2” | 65 | 190 | 178 | 139.5 | 105 | 18 | 4-Φ19 | 347 | 250 | 28 | |
| 3" | 80 | 203 | 190 | 152.5 | 127 | 19 | 4-Φ19 | 383 | 250 | 30 | |
| 4" | 100 | 229 | 229 | 190.5 | 157 | 24 | 8-Φ19 | 457 | 300 | 50 | |
| 5" | 125 | 254 | 254 | 216 | 186 | 24 | 8-Φ22 | 632 | 300 | 63 | |
| 6" | 150 | 267 | 279 | 241.5 | 216 | 26 | 8-Φ22 | 635 | 350 | 85 | |
| 8" | 200 | 292 | 343 | 298.5 | 270 | 29 | 8-Φ22 | 762 | 350 | 128 | |
| 10" | 250 | 330 | 406 | 362 | 324 | 31 | 12-Φ25 | 895 | 400 | 220 | |
| 12" | 300 | 356 | 483 | 432 | 381 | 32 | 12-Φ25 | 1080 | 500 | 310 | |
| 14" | 350 | 381 | 533 | 476 | 413 | 35 | 12-Φ29 | 1295 | 600 | 450 | |
| 16" | 400 | 406 | 597 | 540 | 470 | 37 | 16-Φ29 | 1435 | 600 | 550 | |
| 18' | 450 | 432 | 635 | 578 | 533 | 40 | 16-Φ32 | 1626 | 650 | 700 | |
| 20" | 500 | 457 | 698 | 635 | 584 | 43 | 20-Φ32 | 1829 | 650 | 910 | |
| 24" | 600 | 508 | 813 | 749.5 | 692 | 48 | 20-Φ35 | 2175 | 700 | 1130 | |
| 28" | 700 | 610 | 984 | 914.5 | 857 | 75 | 28-Φ35 | 2695 | 700 | 2230 | |
| 产品型号 Type | NPS | DN | Class 300 Lb | WT | |||||||
| in | mm | L | D | D1 | D2 | b | Z-Φd | H | Do | (Kg) | |
| Z40H-300Lb (Body:WCB) Z40H-300Lbp (Body:CF8) Z40H-300Lb (Body:CF8) Z40H-300LbR (Body:CF8M) Z40H-300LbPL (Body:CF3) Z40H-300LbRL (Body:CF3M) |
2 | 50 | 216 | 165 | 127 | 92 | 22 | 8-Φ19 | 330 | 250 | 30 |
| 21/2” | 65 | 241 | 190 | 149 | 105 | 25 | 8-Φ22 | 368 | 250 | 36 | |
| 3 | 80 | 283 | 210 | 168.5 | 127 | 29 | 8-Φ22 | 394 | 300 | 61 | |
| 4 | 100 | 305 | 254 | 200 | 157 | 32 | 8-Φ22 | 473 | 300 | 77 | |
| 5 | 125 | 381 | 279 | 235 | 186 | 35 | 8-Φ22 | 660 | 350 | 106 | |
| 6 | 150 | 403 | 318 | 270 | 216 | 37 | 12-Φ22 | 711 | 350 | 153 | |
| 8 | 200 | 419 | 381 | 330 | 270 | 41 | 12-Φ25 | 813 | 400 | 286 | |
| 10 | 250 | 457 | 444 | 387.5 | 324 | 48 | 16-Φ29 | 1003 | 500 | 412 | |
| 12 | 300 | 502 | 521 | 451 | 381 | 51 | 16-Φ32 | 1137 | 600 | 576 | |
| 14 | 350 | 762 | 584 | 514.5 | 413 | 54 | 20-Φ32 | 1489 | 600 | 886 | |
| 16 | 400 | 838 | 648 | 571.5 | 470 | 57 | 20-Φ35 | 1581 | 650 | 1175 | |
| 18 | 450 | 914 | 711 | 628.5 | 533 | 60 | 24-Φ35 | 2017 | 838 | 1301 | |
| 20 | 500 | 991 | 775 | 686 | 584 | 64 | 24-Φ35 | 2228 | 889 | 1672 | |
| 24 | 600 | 1143 | 914 | 813 | 692 | 70 | 24-Φ41 | 2650 | 1092 | 2562 | |
| 产品型号 Type | NPS | DN | Class 600 Lb | WT | |||||||
| in | mm | L | D | D1 | D2 | b | Z-Φd | H | Do | (Kg) | |
| Z40H-600Lb (Body:WCB) Z40H-600Lbp (Body:CF8) Z40H-600Lb (Body:CF8) Z40H-600LbR (Body:CF8M) Z40H-600LbPL (Body:CF3) Z40H-600LbRL (Body:CF3M) |
2 | 50 | 292 | 165 | 127 | 92 | 33 | 8-Φ19 | 510 | 254 | 44 |
| 21/2” | 65 | 330 | 190 | 149 | 100 | 36 | 8-Φ22 | 554 | 254 | 60 | |
| 3 | 80 | 356 | 210 | 168 | 127 | 39 | 8-Φ22 | 595 | 305 | 80 | |
| 4 | 100 | 432 | 273 | 216 | 157 | 45 | 8-Φ25 | 712 | 356 | 145 | |
| 5 | 125 | 508 | 330 | 266.5 | 186 | 52 | 8-Φ29 | 826 | 406 | 236 | |
| 6 | 150 | 559 | 356 | 292 | 216 | 55 | 12-Φ29 | 995 | 508 | 309 | |
| 8 | 200 | 660 | 419 | 349 | 270 | 63 | 12-Φ32 | 1157 | 610 | 522 | |
| 10 | 250 | 787 | 508 | 432 | 324 | 71 | 16-Φ35 | 1373 | 686 | 779 | |
| 12 | 300 | 838 | 559 | 489 | 381 | 74 | 20-Φ35 | 1603 | 686 | 1108 | |
| 14 | 350 | 889 | 603 | 527 | 413 | 77 | 20-Φ38 | 1930 | 762 | 1503 | |
| 16 | 400 | 991 | 686 | 603 | 470 | 84 | 20-Φ41 | 2032 | 889 | 1939 | |
| 18 | 450 | 1092 | 743 | 654 | 533 | 90 | 20-Φ44 | 2286 | 889 | 2733 | |
| 20 | 500 | 1194 | 813 | 724 | 584 | 96 | 24-Φ44 | 2591 | 1118 | 3214 | |
| 24 | 600 | 1397 | 940 | 838 | 692 | 109 | 24-Φ52 | 3124 | 1118 | 4177 | |